电话:0371-23214998
电话:0371-23211139
电话:0371-23213398
电话:0371-23214498
传真:0371-23214998
东北办事处联系人:宗鑫
电话:15840511558
网址:
地址:河南省开封市开封县八里湾镇玉皇庙安玉路8号
一、概述及用途
平衡流量计是由多孔平衡节流装置,差压变送器、显示仪器组成。多孔平衡节流装置(又称多孔孔板)是在标准孔板和流动调整器的基础上研发的一种新型节流式流量传感器。平衡流量计用于安装在各种扰动的下游,以短的直管段敷设提供性能。
二、工作原理
平衡流量计是一种差压式流量仪表,其工作原理与其它差压式流量计一样,都是基于密封管道中的能量转换原理:在流体的情况下管道中的流量与差压的平方根成正比;用测出的差压值根据伯努利方程即可计算出管道中的流量。平衡流量传感器是一个多孔的圆盘节流整流器,安装在管道的截面上,每个孔的尺寸和分布是基于公式和测试数据而定制的,称为函数孔。当流体穿过圆盘的函数孔时,流体将被平衡整流,形成近似流体,通过取压装置,可获得稳定的差压信号,根据伯努利方程计算出体积流量、质量流量。
三、平衡流量传感器结构
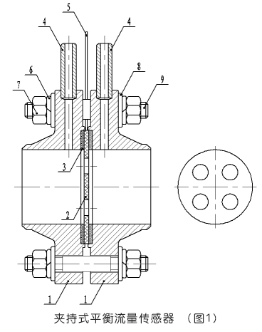
1.夹持式平衡流量传感器 (图1)

1.取压法兰;2.平衡节流件;3.金属缠绕垫片;4.高低压取压管;5.标牌;6.弹垫;7.螺母;8.平垫;9.螺栓
2.焊接式平衡流量传感器 (图2)

1.本体焊接锻件;2.平衡节流件;3.高低压取压管
3.管道式平衡流量传感器(图3)

1.法兰;2.测量导管;3.平衡节流件;4.高低压取压管
四、平衡流量计特点
线性度高、重复性好
平衡流量传感器具有对称多孔结构特点,能对流场进行平衡,降低了涡流、振动和信号噪声,流场稳定性大大提高,使线性度比标准孔板提升了5~10倍,重复性提高了54%,为0.15%。
●耐脏污不易堵
多孔对称的平衡设计,减少了紊流剪切力和涡流的形成,从而大大降低了滞留死区的形成,保证脏污介质顺利通过多个孔,减小了流体孔被堵塞的机会。
●可直接替换孔板
其与孔板具有相同的使用方法和外形,因此可以直接进行替换,不需要任何配管的变化和相关仪表的更改,很适合全厂能源计量改造中将孔板改为平衡流量计。
●长期稳定性好
由于其紊流剪切力的明显减小,大幅度降低了介质与节流件直接的摩擦,其β值长期保持不变,整个仪表无可动部件,因此可以长期保持稳定性。
●可测高温高压介质
与孔板等节流装置一样,工作温度压力取决于管道和法兰的材质和等级,工作温度可达850℃,工作压力可达42MPa。
●可测复杂工况介质
由于其结构设计,使其具有性能,它可以气液两相,各种混合气体(如瓦斯、沼气、煤气等等)、各种低温气体(如LNG、液氮、液氧、液氩、液氢、液氯、液化乙烯、液化石油气等等)、气液两相介质(如湿气)、浆料、多相水流、震动水流、电磁干扰介质和双向流(因为平衡流量计左右对称)。
一体化结构易于使用、检验和排除故障。
五、主要技术参数
管径范围: DN15~DN1000(大口径也可以做到)
精度: ±0.3%、±0.5%、±1%;
直管段要求: 0.5D~2D;
压损: 孔板的1/3~1/4;
量程比: 10:1,合适的工况数据可以做到更宽;
重复性: 0.1%;
雷诺数范围: Re 200~107;
β范围: 0.25~0.9;
测量双向流:平衡流量计左右对称。
六、产品外形尺寸
管道式平衡流量传感器、夹持式平衡流量传感器 具体的尺寸是根据客户要求的压力等级、指定的法兰标准和现场管道尺寸而定的。
焊接式平衡流量传感器
七、平衡流量计选型

八.平衡流量计安装
1.安装前应核对平衡流量计的编号、位号、规格是否与管道情况、流量范围等参数相符。
2.新设管路系统,须先经冲洗、扫线后再安装孔板,以防管内杂物堵塞或损伤孔板。
3.平衡节流件的中心应当与管道中心同轴,同轴度误差不得超过±[0.015*(1/β)-0.015]。并且节流端平面应当与管道的垂直,误差不得超过±1°。
4. 平衡流量计安装时,垫片夹紧后不得突入管道内壁。
5. 平衡流量计安装处须严密,不允许有泄漏现象。安装后,进行试压。
6. 导压管应垂直或倾斜敷设,其倾斜度不得小于1:12。粘度较高的流体倾斜度还应增大。当差压讯号传送距离超过3米时,导压管应当分段倾斜,并在各较高点和较低点分别安装集气器和沉降器。
7. 在平衡流量计前后若需安装阀门,选闸阀且在运行中全开;调节阀则应在下游5DN之后的管路中。
8. 引压管路应有牢固的支架托承,两根取压管路应尽可能互相靠近并远离热源或震动源,测量水蒸汽流量时,应用保温材料一同包扎,需要时加伴热管防止结冰。在测量脏污流量时,应附设隔离器或沉降器。
9. 测量液体流量时引压管水平段应在同一水平面内。若是在垂直管道上安装节流件,引压短管之间相距距离(垂线方向),这对差压变送器的零点有影响,应通过“零点迁移”来校正。
10. 引压管路的内径与管路长度和介质脏污程度有关,通常在45米以内用内径为8-12mm的管子。
11. 引压管路内须始终保持单相流体状态。被测流体是气体时,引压管路(包括差压计的压力腔)内全部是气相;被测流体是液体时,引压管路内全部是液相,不能有气泡。
12. 平衡流量计在垂直管道上安装时,取压口位置可以在取压装置的平面上任意选择。当孔板水平或倾斜安装在主管道内时,取压口位置如(图4)所示。

测量无腐蚀液体流量的安装示意图(图5)

1-节流装置;2-阀门;3-沉降器;4-差压计;5-集气器
测量腐蚀液体流量的安装示意图(隔离液密度大于被测液密度)(图6)

1-节流装置;2-阀门;3-隔离器;4-沉降器;5-差压计;6-集气器
测量腐蚀液体流量的安装示意图(隔离液密度小于被测液密度)(图7)


1-节流装置;2-阀门;3-隔离器;4-集气器;5-差压计
测量无腐蚀性气体流量的安装示意图(图8)

1-节流装置;2-阀门;3-吹洗阀;4-沉降器;5-差压计
测量腐蚀性气体流量的安装示意图(液体隔离)(图9)

1-节流装置;2-阀门;3-隔离器;4-差压计;5-沉降器
测量蒸汽流量安装示意图(图10)

1-节流装置;2-阀门;3-保温层;4-沉降器;5-差压计;6-集气器
安装注意事项
(1)可水平,垂直或倾斜安装,应保证管内充满介质;
(2)节流装置前,后直管段应是直的,无肉眼可见弯曲,同时应是“圆的”,内壁应洁净,无凹坑与沉淀物;
(3)直管段长度要求及节流装置安装应符合GB/T26224—93有关规定;
(4)引压管路安装应符合标准规定的规范。
十、常见故障及解决方法
