电话:0371-23214998
电话:0371-23211139
电话:0371-23213398
电话:0371-23214498
传真:0371-23214998
东北办事处联系人:宗鑫
电话:15840511558
网址:
地址:河南省开封市开封县八里湾镇玉皇庙安玉路8号
一、概述及应用
孔板流量计又称为差压式流量计,是由一次检测件(节流件)和二次装置(差压变送器和流量显示仪)组成,可测量气体、蒸汽和液体的流量,广泛应用于石油、化工、冶金、电力、轻工、轻纺、科研、供热、供水等领域的过程控制和测量。具有结构简单,维修方便,性能稳定,使用可靠等特点。
二、工作原理
充满管道的流体流经管道内的节流装置,在节流件附近造成局部收缩,流速增加,在其上、下游两侧产生静压力差(如图1)。在已知有关参数的条件下,根据流动连续性原理和伯努利方程可以推导出差压与流量之间的关系(流量愈大,所产生的压差愈大)而求得流量。

三、传感器结构组成
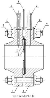
1.法兰取压标准孔板

1.取压法兰;2.节流件(孔板芯);3.金属缠绕垫片;4.高低压取压管;5.标牌;6.弹垫;7.螺母;8.平垫;9.螺栓。
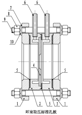
2.环室取压标准孔板
1法兰;2.前环室;3.后环室;4.节流件(孔板芯);5.金属缠绕垫片;6.高低压取压管;7.平垫;8.螺母;9.螺栓;10.弹垫
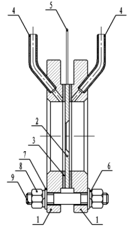
3.角接钻孔取压标准孔板

1.法兰;2节流件(孔板芯);3.金属缠绕垫片;4.高低压取压管;5.标牌;6.弹垫;7.平垫;8.螺母;9.螺栓
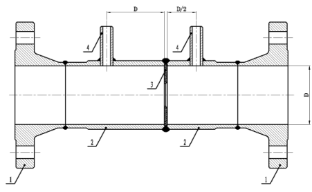
4.径距取压管段式标准孔板

1.法兰;2.测量导管;3.节流件(孔板芯);4.高低压取压管。
四、孔板流量计特点
结构特点
1、法兰取压标准孔板:
它不论管道直径大小,其上、下游取压孔中心均位于距孔板两侧端面各一英寸处,炼油系统普遍采用此种形式。
2、环室取压标准孔板:
它由于实现了环室取压,提高了测量精度,缩短了安装时所需直线管段长度,被普遍应用。
3、角接钻孔取压标准孔板:
当口径在DN400以上时,采用此种形式较多。取压方式可为单独钻孔取压、圆形均压环取压、方形均压环取压。
4、径距取压管段式标准孔板:
该种孔板的上游取压孔中心位于孔板前一倍的管道内径处,下游取压孔中心位于距离孔板后端面1/2倍的管道内径的地方,并位于同一截面上。这样测量更准确,因为差压的大值在流体的收缩断面处,即1/2倍管径处。
性能特点
1.结构易于复制、简单牢固。
2.性能稳定牢靠,价格低廉,使用期限长。
3.标准型孔板采用标准计算与加工,可无须实流标定。
4.单相流(液、气、蒸汽)皆可测量。
5.采用智能差压变送器,精度高,量程可自编程。
6.智能一体化孔板流量计可同时显示累计流量、瞬时流量、压力、温度。
7.配有HART通讯接口,稳定性高。
五、产品参数
公称通径:DN25~DN1000(mm)
精度:±1.5%FS
量程比:标准1∶3;扩展1∶5
工作压力:≤42.0MPa
介质温度:-40℃-450℃
介质粘度:≤30CP(相当于重油)
β值:0.2-0.8
连接方式:法兰式、夹装式、焊接式
取压方式:环室取压、法兰取压、角接钻孔取压、径距取压
安装方式:水平或垂直
供电电源:24V DC(需配差压变送器)
显示:8位LCD显示瞬时流量、累积流量(配流量积算仪)
输出信号:(1)4-20mA DC流量信号(2)符合HART协议的输出信号
防爆性能:本安型IbIICT5
防护性能:IP65
六、产品外形尺寸
环室取压标准孔板(1.6MPa)(表1)

径距取压标准孔板、法兰取压标准孔板和角接钻孔取压标准孔板 具体的尺寸是根据客户要求的压力等级和现场管道尺寸而定的。
七、产品选型



八、孔板安装
1.孔板安装前应仔细核对标准孔板的编号、位号、规格是否与管道情况、流量范围等参数相符。
2.新设管路系统,须先经冲洗、扫线后再安装孔板,以防管内杂物堵塞或损伤孔板。
3.孔板的中心应当与管道中心同轴,同轴度误差不得超过±[0.015*(1/β)-0.015]。并且节流端平面应当与管道的垂直,误差不得超过±1°。
4. 孔板安装时,垫片夹紧后不得突入管道内壁。
5. 孔板安装处须严密,不允许有泄漏现象。安装后,进行试压。
6. 导压管应垂直或倾斜敷设,其倾斜度不得小于1:12。粘度较高的流体倾斜度还应增大。当差压讯号传送距离超过3米时,导压管应当分段倾斜,并在各较高点和较低点分别安装
集气器和沉降器。
7. 在孔板流量计前后若需安装阀门,选闸阀且在运行中全开;调节阀则应在下游5DN之后的管路中。
8. 引压管路应有牢固的支架托承,两根取压管路应尽可能互相靠近并远离热源或震动源,测量水蒸汽流量时,应用保温材料一同包扎,需要时(如气温0℃以下)加伴热管防止结冰。在测量脏污流量时,应附设隔离器或沉降器。
9. 测量液体流量时引压管水平段应在同一水平面内。若是在垂直管道上安装节流件,引压短管之间相距距离(垂线方向),这对差压变送器的零点有影响,应通过“零点迁移”来校正。
10. 引压管路的内径与管路长度和介质脏污程度有关,通常在45米以内用内径为8-12mm的管子。
11. 引压管路内须始终保持单相流体状态。被测流体是气体时,引压管路(包括差压计的压力腔)内全部是气相;被测流体是液体时,引压管路内全部是液相,不能有气泡。为此应在引压管路的低点装排水阀或在高点装排气阀,在新装或检修差压变送器时时应特别注意。
12. 孔板在垂直管道上安装时,取压口位置可以在取压装置的平面上任意选择。当孔板水平或倾斜安装在主管道内时,取压口位置如图4所示。

九、常见故障及解决方法

十、附件(自带)
引压管、连接法兰、螺栓、垫片
十一、可选附件(含示意图及尺寸图)
冷凝器、承插焊闸阀、三阀组、针型截止阀、集气器、隔离器、沉降器。
十二、可选相关商品
压力变送器、温度变送器、流量计积算仪、智能差压变送器。